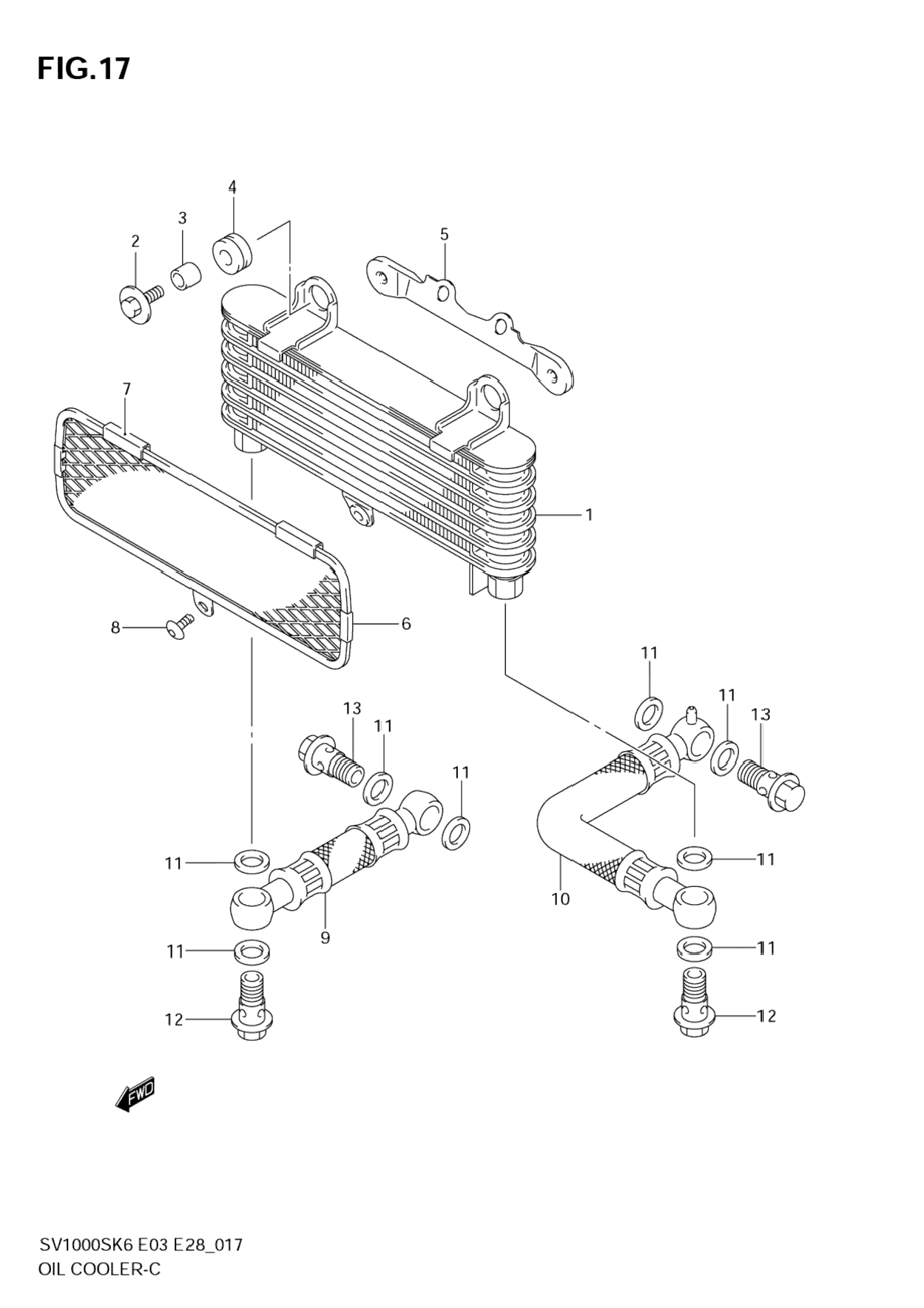
Масляный радиатор для Suzuki SV1000S 2006 г.

(OIL COOLER)
Доставка из США до Москвы 90 руб. за 100 грамм
Доставка
  • Доставка из США, ОАЭ или из Германии в Москву
  • Доставка со складов в Москве
Скидка 5% от суммы заказа более 30 000 руб.
Оплата
  • Наличный способ оплаты
  • Банковской картой Visa, Mastercard
Номер запчасти,
наличие, срок поставки
Наименование Кол-во Цена
1 16600-16G00 / 45-55 дней Cooler assy, oil 1 94 159 р.
2 09116-06167 / 45-55 дней Bolt 2 249 р.
3 09180-06310 / 45-55 дней Spacer sv1000 not for us market 2 215 р.
4 09320-09009 / 45-55 дней Cushion 2 535 р.
5 16620-02F00 / 45-55 дней Bracket, oil cooler 1 1 171 р.
6 16650-16G00 / 45-55 дней Guard, oil cooler 1 6 086 р.
7 17765-09F00 / 45-55 дней .protector, center 2 342 р.
8 02142-0510B / 45-55 дней Bolt 1 199 р.
9 16460-16G00 / 45-55 дней Hose, oil cooler rh 1 15 118 р.
10 16470-16G00 / 45-55 дней Hose, oil cooler lh 1 16 215 р.
11 09168-14015 / 45-55 дней Gasket 8 230 р.
12 09360-12012-A05 / 45-55 дней Bolt, union 2 1 131 р.
12 09360-12012 / 45-55 дней Bolt, union 2 1 131 р.
13 09360-14012 / 45-55 дней Bolt 2 1 251 р.
Список узлов