Руль для Suzuki Bandit (GSF1250SA) 2009 г.

(HANDLEBAR)
Доставка из США до Москвы 90 руб. за 100 грамм
Доставка
  • Доставка из США, ОАЭ или из Германии в Москву
  • Доставка со складов в Москве
Скидка 5% от суммы заказа более 30 000 руб.
Оплата
  • Наличный способ оплаты
  • Банковской картой Visa, Mastercard
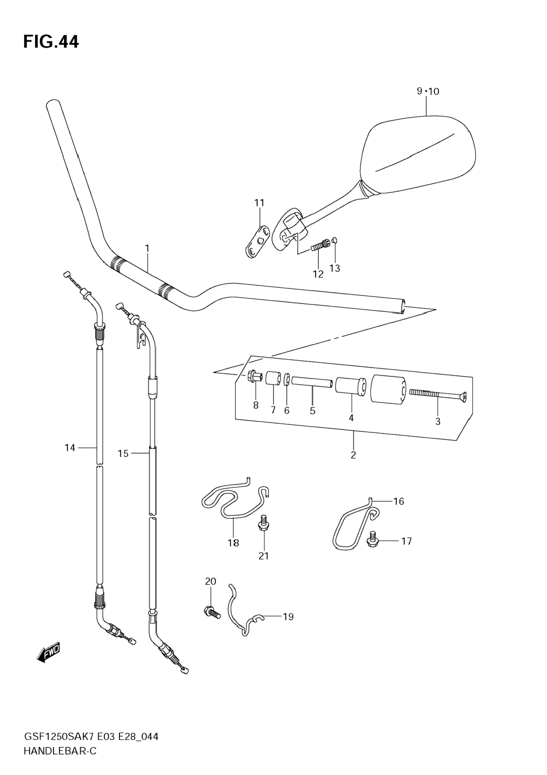
Номер запчасти,
наличие, срок поставки
Наименование Кол-во Цена
1 56111-49G00 / 45-55 дней Handlebar 1 20 791 р.
2 56200-38823 / 45-55 дней Balancer set, handlebar 2 4 507 р.
3 09127-06018 / 45-55 дней .screw 2 387 р.
4 56272-19D00 / 45-55 дней .expander, outer 2 1 426 р.
5 56276-17D00 / 45-55 дней .spacer 2 606 р.
6 09160-06131 / 45-55 дней .washer 2 285 р.
7 56272-10G00 / 45-55 дней .expander, inner 2 562 р.
8 56273-10G10 / 45-55 дней .nut 2 1 032 р.
9 56500-38G21 / 45-55 дней Mirror, rear view rh 1 12 443 р.
10 56600-38G21 / 45-55 дней Mirror, rear view lh 1 12 443 р.
11 94576-24F00 / 45-55 дней Cushion 2 778 р.
12 07130-0616B / 45-55 дней Bolt 4 271 р.
13 09250-05009 / 45-55 дней Cap 4 230 р.
14 58300-18H20 / 45-55 дней Cable assy, throttle no.1 1 7 402 р.
15 58300-18H30 / 45-55 дней Cable assy, throttle no.2 1 7 402 р.
16 58631-38G00 / 45-55 дней Guide, throttle cable 1 1 259 р.
17 09125-05042 / 45-55 дней Screw 1 225 р.
18 58621-18H00 Guide, throttle cable 1 Узнать цены
19 58622-38G00 Guide, cable 1 Узнать цены
20 01550-0620A / 45-55 дней Bolt, guide rh 1 222 р.
21 01550-0612A / 45-55 дней Bolt, guide 2 222 р.
Список узлов