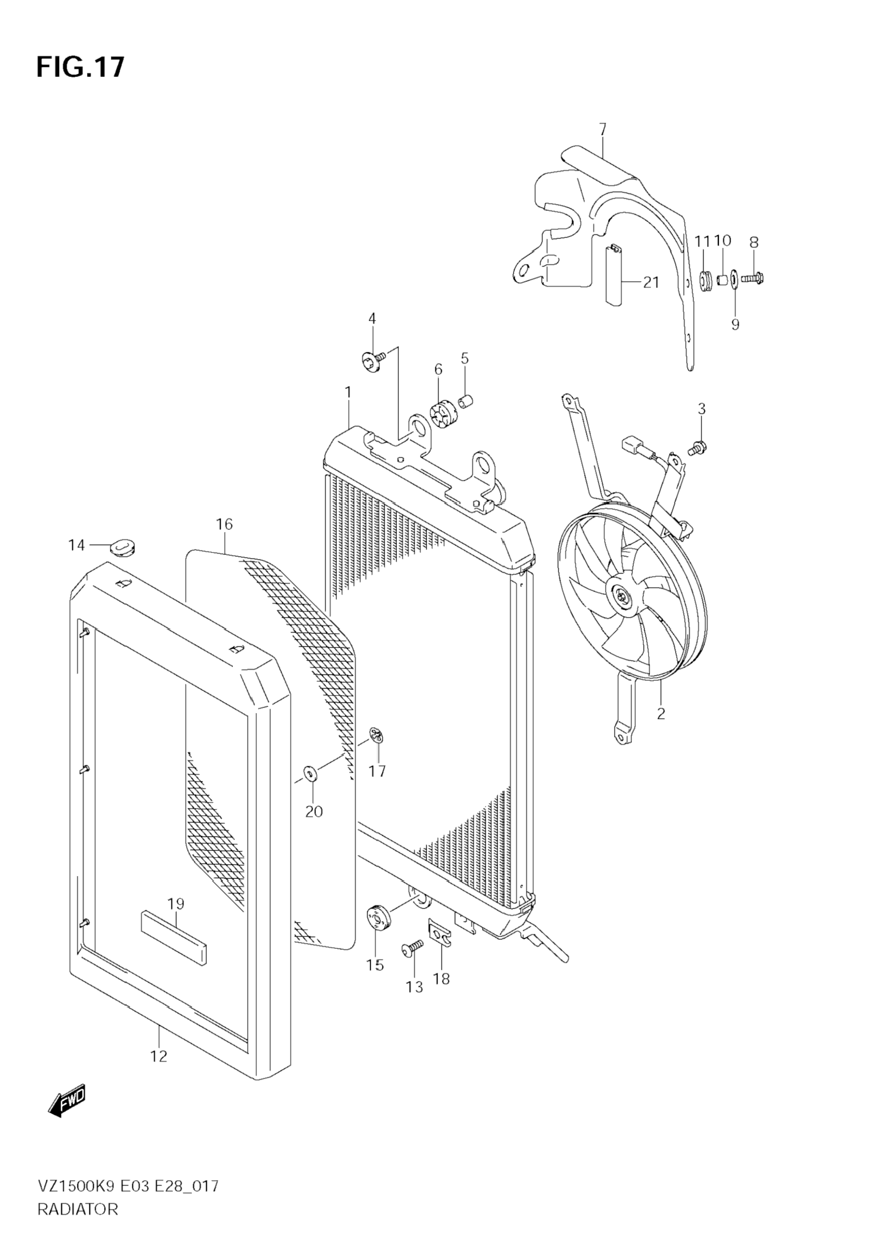
Радиатор для Suzuki Boulevard M90 (VZ1500) 2009 г.

(RADIATOR)
Доставка из США до Москвы 90 руб. за 100 грамм
Доставка
  • Доставка из США, ОАЭ или из Германии в Москву
  • Доставка со складов в Москве
Скидка 5% от суммы заказа более 30 000 руб.
Оплата
  • Наличный способ оплаты
  • Банковской картой Visa, Mastercard
Номер запчасти,
наличие, срок поставки
Наименование Кол-во Цена
1 17710-40H00 / 45-55 дней Radiator assy, water 1 118 051 р.
1 17710-40H10 / 45-55 дней Radiator assy, water 1 118 051 р.
2 17800-40H00 / 45-55 дней Fan assy, radiator 1 72 373 р.
3 17711-40H00 Bolt 3 Узнать цены
4 09118-06097 / 45-55 дней Bolt 3 285 р.
5 09180-06290 / 45-55 дней Spacer 3 230 р.
6 09320-10051 / 45-55 дней Cushion 3 356 р.
7 17771-40H00 Shield, radiator heat 1 Узнать цены
8 01547-0616B / 45-55 дней Bolt 3 277 р.
9 09160-06152 / 45-55 дней Washer 3 232 р.
10 09180-06001 / 45-55 дней Spacer 3 225 р.
11 09320-08066 / 45-55 дней Cushion 3 949 р.
12 17760-40H00 / 45-55 дней Cover, radiator no.1 1 6 005 р.
13 09139-06039 / 45-55 дней Bolt 1 240 р.
14 09320-03004 / 45-55 дней Cushion, cover upper 2 232 р.
15 09320-08028 / 45-55 дней Cushion, cover lower 1 350 р.
16 17765-40H00 / 45-55 дней Net, radiator cover 1 9 692 р.
17 09148-03010 / 45-55 дней Nut 6 256 р.
18 09148-06021 / 45-55 дней Nut 1 424 р.
19 92141-43EU0 Cushion 2 Узнать цены
20 09320-04501 / 45-55 дней Cushion 6 287 р.
21 17762-18H00 Molding 4 Узнать цены
Список узлов