Заднее крыло для Suzuki RM85 2010 г.

(REAR FENDER)
Доставка из США до Москвы 90 руб. за 100 грамм
Доставка
  • Доставка из США, ОАЭ или из Германии в Москву
  • Доставка со складов в Москве
Скидка 5% от суммы заказа более 30 000 руб.
Оплата
  • Наличный способ оплаты
  • Банковской картой Visa, Mastercard
Номер запчасти,
наличие, срок поставки
Наименование Кол-во Цена
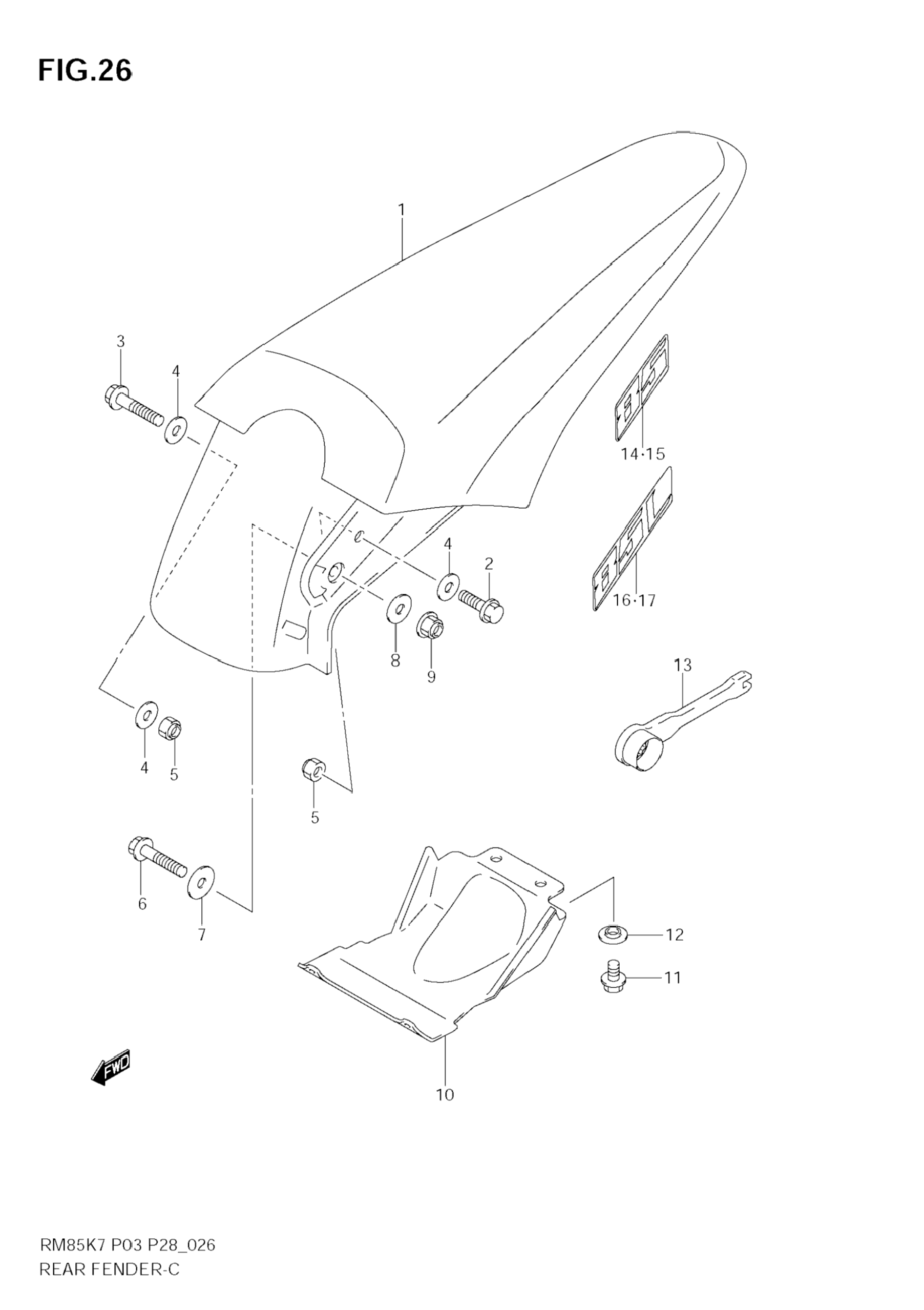
1 63111-03B60-YU1 / 45-55 дней Fender, rear (yellow) 1 5 145 р.
2 01547-06207 / 45-55 дней Bolt, lh 1 230 р.
3 09103-06251 / 45-55 дней Bolt, rh 1 230 р.
4 09160-06077 / 45-55 дней Washer 4 215 р.
5 08319-2106A / 45-55 дней Nut 2 215 р.
6 09103-06251 / 45-55 дней Bolt, front side 2 230 р.
7 09160-06135 / 45-55 дней Washer, inner 2 225 р.
8 09160-06084 / 45-55 дней Washer, outer 2 199 р.
9 08319-3106B / 45-55 дней Nut 2 277 р.
10 63351-03B00 / 45-55 дней Mud guard, rear fender front 1 3 478 р.
11 01547-0610B / 45-55 дней Bolt 2 277 р.
12 09169-06010 / 45-55 дней Washer 2 285 р.
13 09816-00182 Box spanner, 21 1 Узнать цены
14 68175-03B50-GY8 / 45-55 дней Emblem, rh rm85 1 1 706 р.
15 68176-03B50-GY8 / 45-55 дней Emblem, lh rm85 1 1 706 р.
16 68175-03B60-GY8 / 45-55 дней Emblem, rh rm85l 1 2 287 р.
17 68176-03B60-GY8 / 45-55 дней Emblem, lh rm85l 1 2 287 р.
Список узлов