FRAME COVER для Suzuki LS650 2013 г.

Доставка из США до Москвы 90 руб. за 100 грамм
Доставка
  • Доставка из США, ОАЭ или из Германии в Москву
  • Доставка со складов в Москве
Скидка 5% от суммы заказа более 30 000 руб.
Оплата
  • Наличный способ оплаты
  • Банковской картой Visa, Mastercard
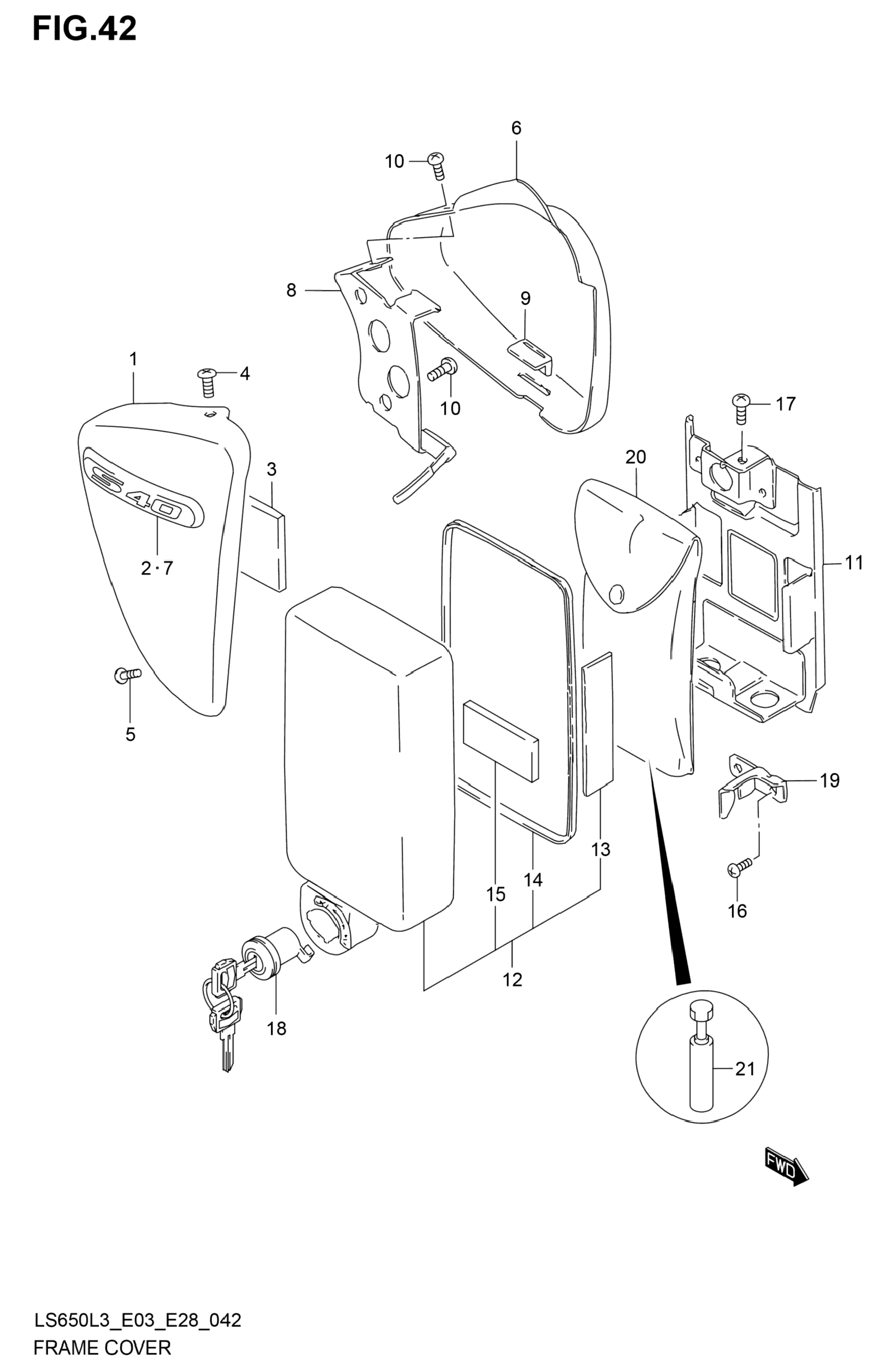
Номер запчасти,
наличие, срок поставки
Наименование Кол-во Цена
  -- / 45-55 дней Color : jey=ypa(white), 1 4 058 р.
1-1 47100-24CA1-YUE / 45-55 дней Cover assy, frame rh (silver) for jey 1 20 039 р.
1-2 47100-24CA1-YUK / 45-55 дней Cover assy, frame rh (orange) for jgs 1 25 185 р.
2 68131-24CA1 / 45-55 дней .emblem, frame cover 1 4 256 р.
3 13719-84150 / 45-55 дней .cushion frame cover rh 1 397 р.
4 02142-0510B / 45-55 дней Screw 2 245 р.
5 02112-7516B / 45-55 дней Screw 1 308 р.
6-2 47200-24CA1-YUK / 45-55 дней Cover assy, frame lh (orange) for jgs 1 41 292 р.
6-1 47200-24CA1-YUE / 45-55 дней Cover assy, frame lh (silver) for jey 1 25 185 р.
7 68131-24CA1 / 45-55 дней .emblem, frame cover 1 4 256 р.
8 47180-24B03 / 45-55 дней Bracket, frame cover lh 1 2 858 р.
9 47117-45000 / 45-55 дней Cushion, frame cover lh 1 267 р.
10 02122-0612B / 45-55 дней Screw 2 253 р.
11 47430-24B01 / 45-55 дней Holder, tool 1 2 867 р.
12 47440-24B20 / 45-55 дней Cover, tool holder 1 7 599 р.
13 33652-07D00 / 45-55 дней .protector, battery 2 784 р.
14 47445-24B00 / 45-55 дней .molding, tool holder 1 497 р.
15 33652-31F00 / 45-55 дней .cushion, tool holder 2 475 р.
16 02142-0510B / 45-55 дней Screw 2 245 р.
17 02112-0610A / 45-55 дней Screw 1 194 р.
18 95700-24871 / 45-55 дней Lock set, tool holder 1 7 225 р.
19 47434-24B00 / 45-55 дней Plate, tool holder lock 1 603 р.
20 09800-21055 / 45-55 дней Tool assy 1 2 807 р.
21 96220-24B00 / 45-55 дней Gauge assy, tension 1 4 411 р.
Список узлов