Сиденье для Suzuki TU250X 2015 г.

(SEAT)
Доставка из США до Москвы 90 руб. за 100 грамм
Доставка
  • Доставка из США, ОАЭ или из Германии в Москву
  • Доставка со складов в Москве
Скидка 5% от суммы заказа более 30 000 руб.
Оплата
  • Наличный способ оплаты
  • Банковской картой Visa, Mastercard
Номер запчасти,
наличие, срок поставки
Наименование Кол-во Цена
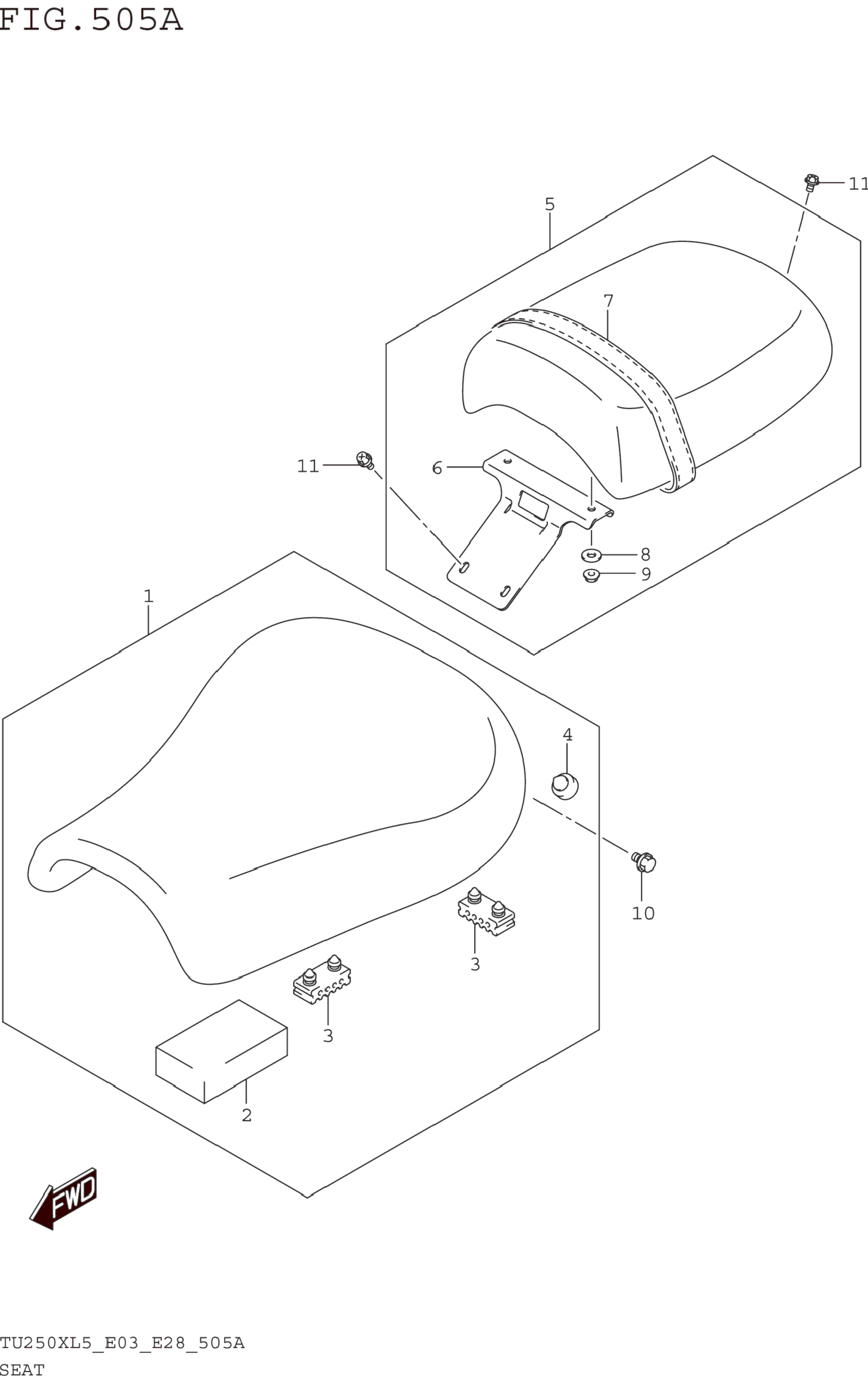
1 45100-26G10-58P / 45-55 дней Seat assy (black) 1 33 678 р.
2 45149-26G00 .cushion, tool 1 Узнать цены
3 45149-31300 / 45-55 дней .cushion, front 4 424 р.
4 09321-10012 / 45-55 дней .cushion rear 1 316 р.
5 45300-26G00-9MG / 45-55 дней Seat assy, pillion 1 28 865 р.
6 45316-26G00 / 45-55 дней .plate, front 1 1 259 р.
7 45381-26G00 / 45-55 дней .band, seat grip 1 1 283 р.
8 09160-06084 / 45-55 дней .washer (6.5x18x1.6) 2 199 р.
9 08316-1006B / 45-55 дней .nut 2 285 р.
10 01550-0812B / 45-55 дней Bolt 2 308 р.
11 01550-0612B / 45-55 дней Bolt 3 271 р.
Список узлов