Аккумулятор для Suzuki QuadRunner 2WD (LT-F250) 2000 г.

(BATTERY)
Доставка из США до Москвы 90 руб. за 100 грамм
Доставка
  • Доставка из США, ОАЭ или из Германии в Москву
  • Доставка со складов в Москве
Скидка 5% от суммы заказа более 30 000 руб.
Оплата
  • Наличный способ оплаты
  • Банковской картой Visa, Mastercard
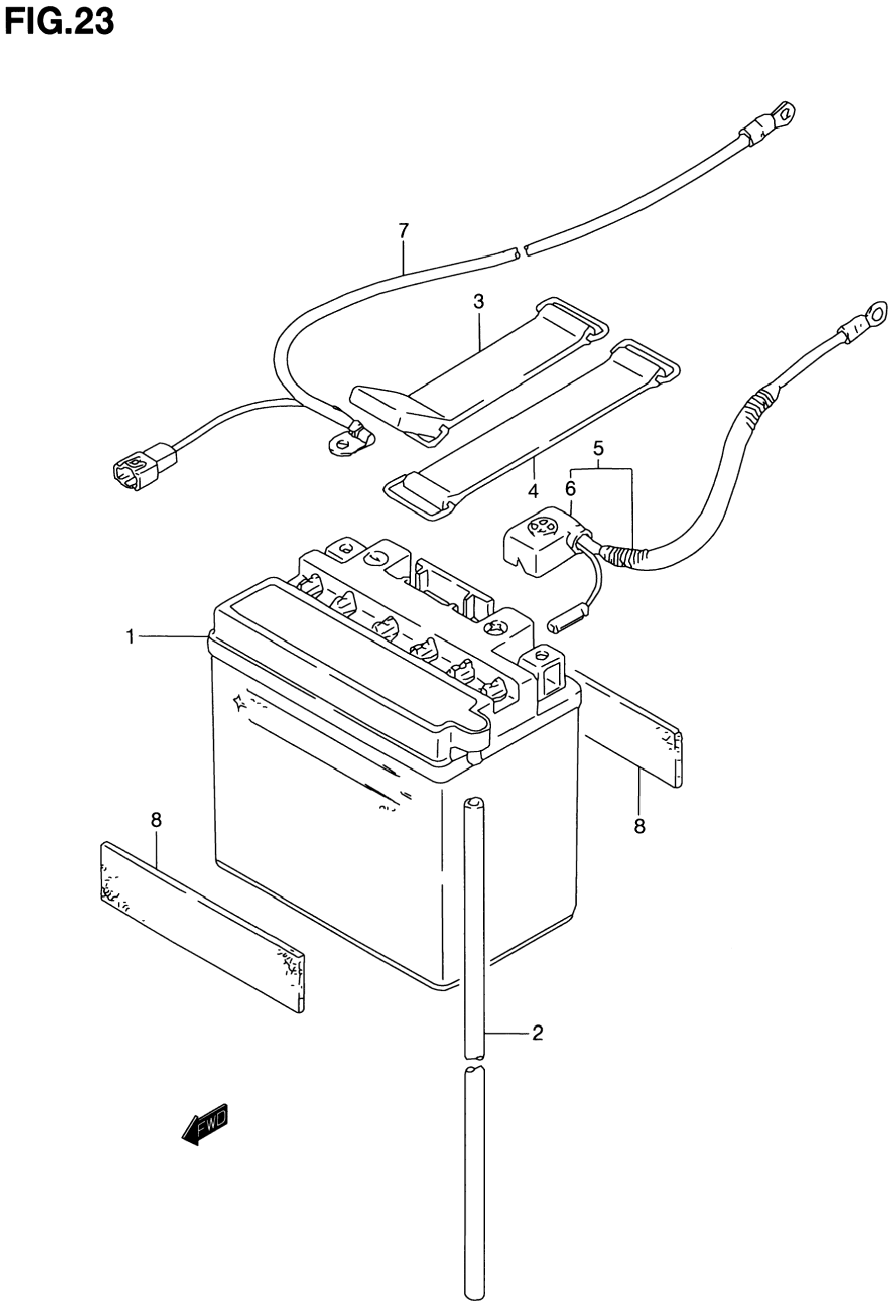
Номер запчасти,
наличие, срок поставки
Наименование Кол-во Цена
1-1 33610-24500 / 45-55 дней Battery assy (12v,14ah) model x 1 9 739 р.
1-3 33610-24580 Battery assy (12v,20ah) e28 1 Узнать цены
1-4 33610-24580 Battery assy (12v,20ah) opt,e3 1 Узнать цены
1-2 33610-24500 / 45-55 дней Battery assy (12v,14ah) model y/k1 1 9 739 р.
2 33680-16A10 / 45-55 дней Hose, battery exhaust l:780??550 1 802 р.
3 09462-00040 / 45-55 дней Band, battery e3 1 802 р.
4-2 09462-00087 / 45-55 дней Band, battery opt,e3 1 1 349 р.
4-1 09462-00087 / 45-55 дней Band, battery e28 1 1 349 р.
5 33820-19B02 / 45-55 дней Lead wire, battery (+) 1 2 631 р.
6 33624-05A00 / 45-55 дней .cap, battery (+) 1 676 р.
7 33860-19B00 / 45-55 дней Lead wire, battery (-) 1 3 041 р.
8 33652-19B00 / 45-55 дней Cushion, battery 2 836 р.
Список узлов