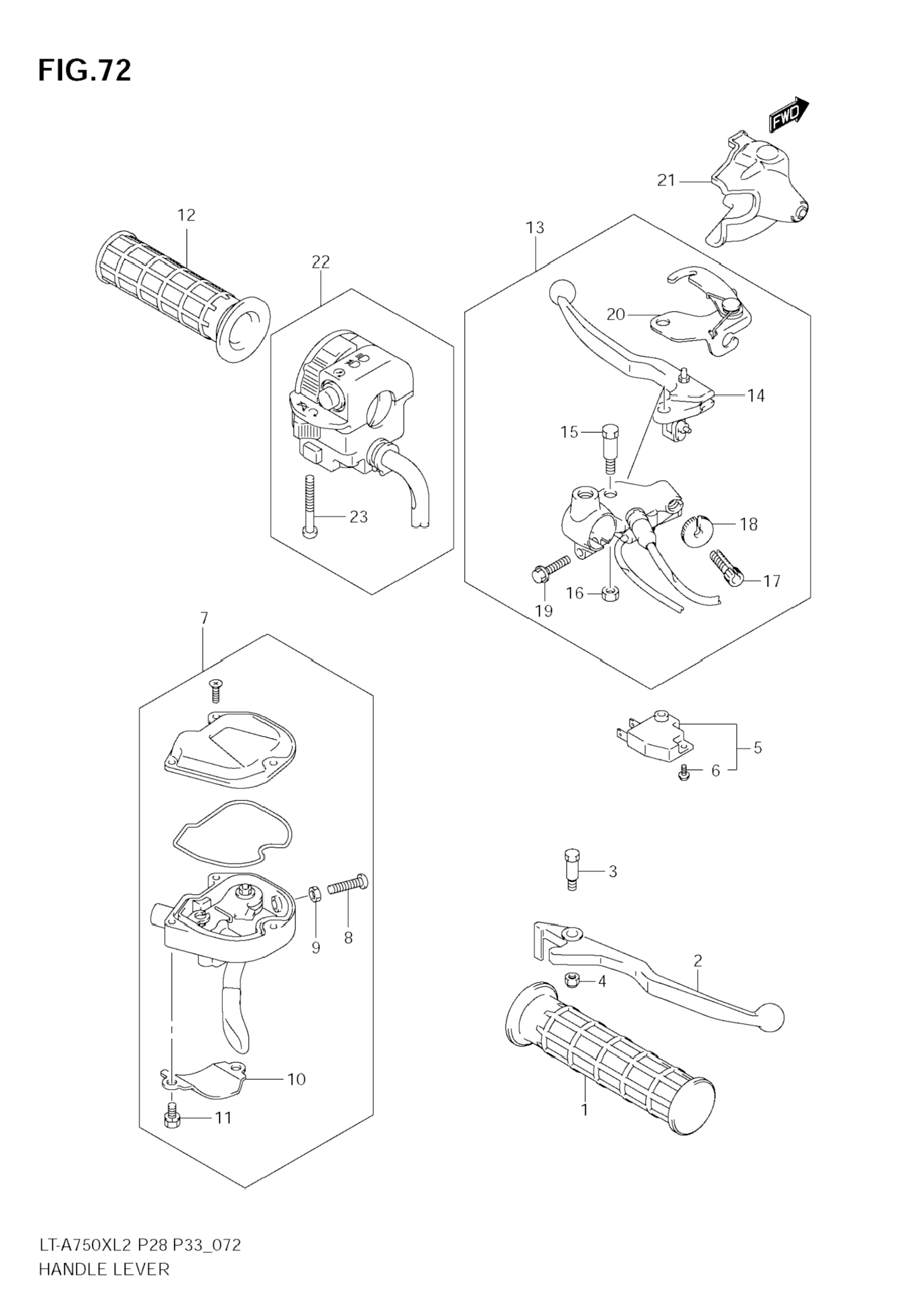
HANDLE LEVER для Suzuki KingQuad (LT-A750XZ) 2012 г.

Доставка из США до Москвы 90 руб. за 100 грамм
Доставка
  • Доставка из США, ОАЭ или из Германии в Москву
  • Доставка со складов в Москве
Скидка 5% от суммы заказа более 30 000 руб.
Оплата
  • Наличный способ оплаты
  • Банковской картой Visa, Mastercard
Номер запчасти,
наличие, срок поставки
Наименование Кол-во Цена
1 57211-21G10 / 45-55 дней Grip 1 1 409 р.
2 57421-39D20 / 45-55 дней Lever, front brake 1 3 204 р.
3 57431-04F00 / 45-55 дней Bolt, pivot 1 872 р.
4 57433-09F00 / 45-55 дней Nut 1 494 р.
5 57460-14J01 / 45-55 дней Switch assy, stop 1 5 343 р.
6 57465-17C00 / 45-55 дней .screw 1 259 р.
7 57100-27H11 / 45-55 дней Case assy, throttle 1 30 707 р.
8 02112-0520B / 45-55 дней .screw 1 253 р.
9 08310-0005A / 45-55 дней .nut 1 253 р.
10 57126-07G00 / 45-55 дней .holder 1 3 436 р.
11 57127-07G00 / 45-55 дней .bolt, holder 2 1 411 р.
12 57211-21G10 / 45-55 дней Grip 1 1 409 р.
13 57501-27H00 / 45-55 дней Lever assy, rear brake 1 16 014 р.
14 57620-27820 / 45-55 дней .lever 1 11 097 р.
15 57431-09F00 / 45-55 дней .bolt, pivot 1 1 792 р.
16 08319-2106B / 45-55 дней .nut 1 318 р.
17 57441-08C00 / 45-55 дней .adjuster, wire 1 1 617 р.
18 57442-08C00 / 45-55 дней .nut, wire 1 1 162 р.
19 01547-0620B / 45-55 дней .bolt 1 335 р.
20 57790-38FA0 / 45-55 дней .stopper, brake lever 1 5 357 р.
21 57541-38FA0 / 45-55 дней Cover, rear brake lever 1 1 027 р.
22 37400-31G00 / 45-55 дней Switch assy, handle, lh 1 19 728 р.
23 02112-0535B / 45-55 дней .screw 2 264 р.
Список узлов