STEERING SHAFT для Suzuki KingQuad (LT-A500XZ) 2013 г.

Доставка из США до Москвы 90 руб. за 100 грамм
Доставка
  • Доставка из США, ОАЭ или из Германии в Москву
  • Доставка со складов в Москве
Скидка 5% от суммы заказа более 30 000 руб.
Оплата
  • Наличный способ оплаты
  • Банковской картой Visa, Mastercard
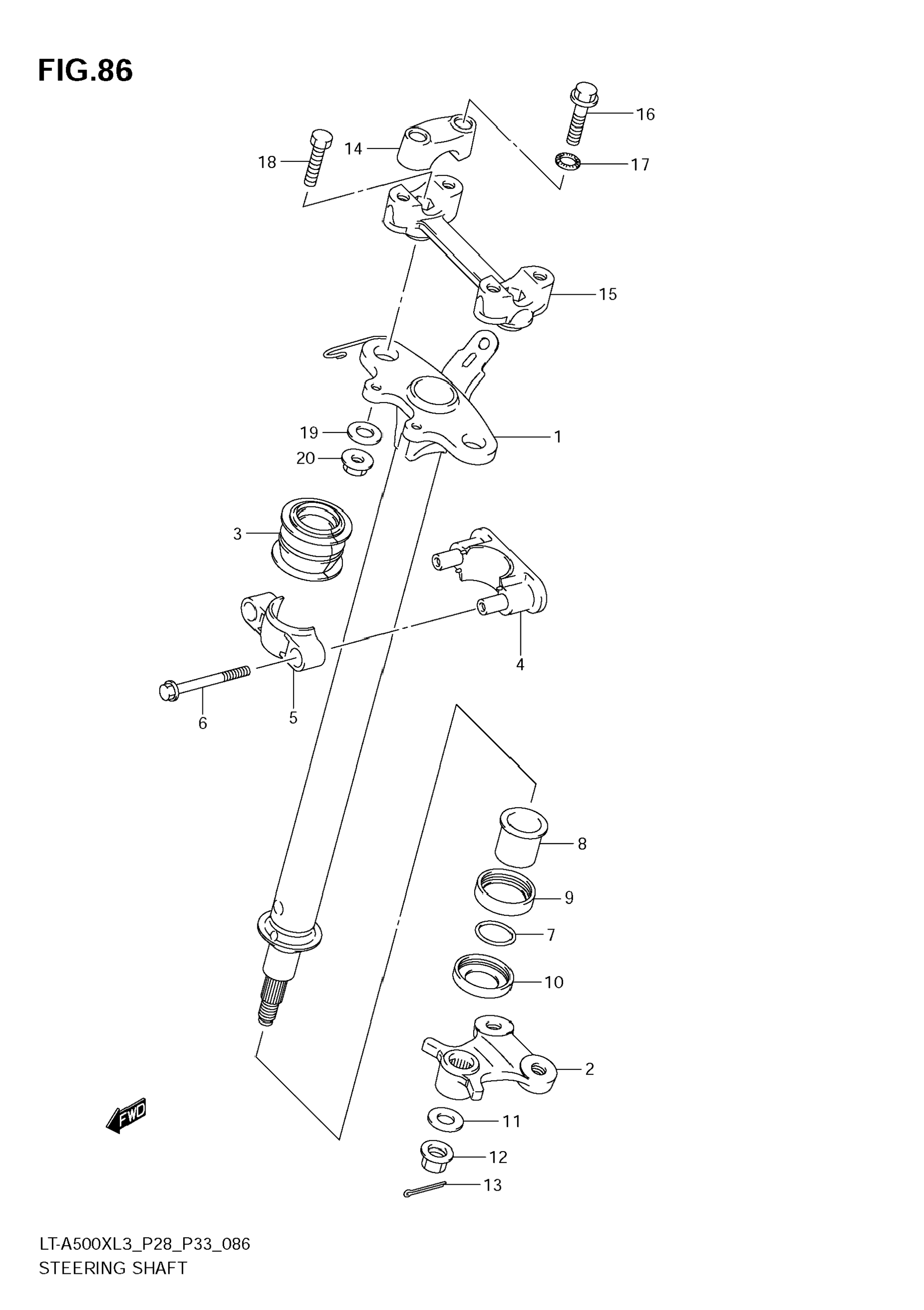
Номер запчасти,
наличие, срок поставки
Наименование Кол-во Цена
1 51650-31G20 / 45-55 дней Shaft, steering 1 36 503 р.
2 51653-31G20 / 45-55 дней Plate, steering arm 1 15 973 р.
3 51678-31G00 / 45-55 дней Bush, steering shaft holder 1 1 617 р.
4 51670-31G00 / 45-55 дней Holder, steering shaft 1 4 218 р.
5 51673-31G00 / 45-55 дней Holder, steering shaft front 1 3 013 р.
6 01550-0875A / 45-55 дней Bolt 2 492 р.
7 09280-24010 / 45-55 дней O ring (d:2.4,id:23.7) 1 784 р.
8 51661-31G00 / 45-55 дней Bush, steering shaft lower 1 4 175 р.
9 51662-31G00 / 45-55 дней Dust seal, steering shaft 1 1 427 р.
10 51663-31G10 / 45-55 дней Dust seal, steering lower 1 2 135 р.
11 09160-14062 / 45-55 дней Washer (14.5x30x3.2) 1 384 р.
12 09159-14027 / 45-55 дней Nut 1 1 614 р.
13 04111-2020A / 45-55 дней Pin 1 167 р.
14 56211-09F00-291 / 45-55 дней Clamp,handlebar upper (black) 2 3 468 р.
15 56211-31G10-291 / 45-55 дней Clamp, handle holder (black) 1 5 098 р.
16 01550-0835A / 45-55 дней Bolt 4 421 р.
17 09164-08015 / 45-55 дней Washer 4 445 р.
18 01500-1035A / 45-55 дней Bolt 2 439 р.
19 09160-10039 / 45-55 дней Washer (10.5x22x2.3) 2 309 р.
20 09159-10115 / 45-55 дней Nut 2 492 р.
Список узлов