Масляный радиатор для Suzuki KingQuad (LT-F400F) 2013 г.

(OIL COOLER)
Доставка из США до Москвы 90 руб. за 100 грамм
Доставка
  • Доставка из США, ОАЭ или из Германии в Москву
  • Доставка со складов в Москве
Скидка 5% от суммы заказа более 30 000 руб.
Оплата
  • Наличный способ оплаты
  • Банковской картой Visa, Mastercard
Номер запчасти,
наличие, срок поставки
Наименование Кол-во Цена
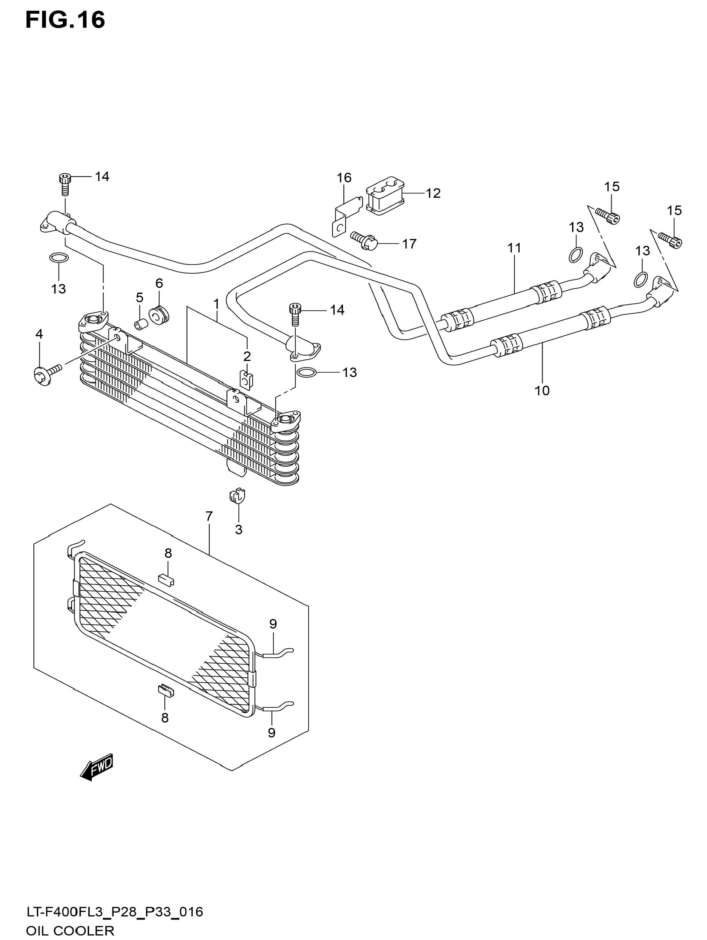
1 16600-38F20 / 45-55 дней Cooler assy, oil 1 23 982 р.
2 17802-14F00 / 45-55 дней .nut 2 468 р.
3 16628-27A00 / 45-55 дней Cushion, oil cooler 1 384 р.
4 09116-06093 / 45-55 дней Bolt (6x25) 2 287 р.
5 09180-06310 / 45-55 дней Spacer (6.5x10x10) 2 262 р.
6 09320-10015 / 45-55 дней Cushion 2 330 р.
7 16650-27H00 / 45-55 дней Guard, oil cooler 1 9 867 р.
8 16654-27H00 .protector, center 2 Узнать цены
9 09352-30503-600 / 45-55 дней .hose (3x5x600) l:600->40 4 680 р.
10 16460-38F10 / 45-55 дней Hose, oil cooler inlet 1 7 078 р.
11 16470-38F10 / 45-55 дней Hose, oil cooler outlet 1 7 130 р.
12 16468-38F00 / 45-55 дней Grommet, oil hose 1 885 р.
13 09280-12008 / 45-55 дней O ring (d:2.4,id:12.3) 4 382 р.
14 07130-0616A / 45-55 дней Bolt 4 327 р.
15 09106-06073 / 45-55 дней Bolt (6x16) 4 327 р.
16 16490-38F00 Clamp, oil hose 1 Узнать цены
17 01550-0612A / 45-55 дней Bolt 1 269 р.
Список узлов