RADIATOR (LT-A500XL4 P28) для Suzuki LT-A500X 2014 г.

Доставка из США до Москвы 90 руб. за 100 грамм
Доставка
  • Доставка из США, ОАЭ или из Германии в Москву
  • Доставка со складов в Москве
Скидка 5% от суммы заказа более 30 000 руб.
Оплата
  • Наличный способ оплаты
  • Банковской картой Visa, Mastercard
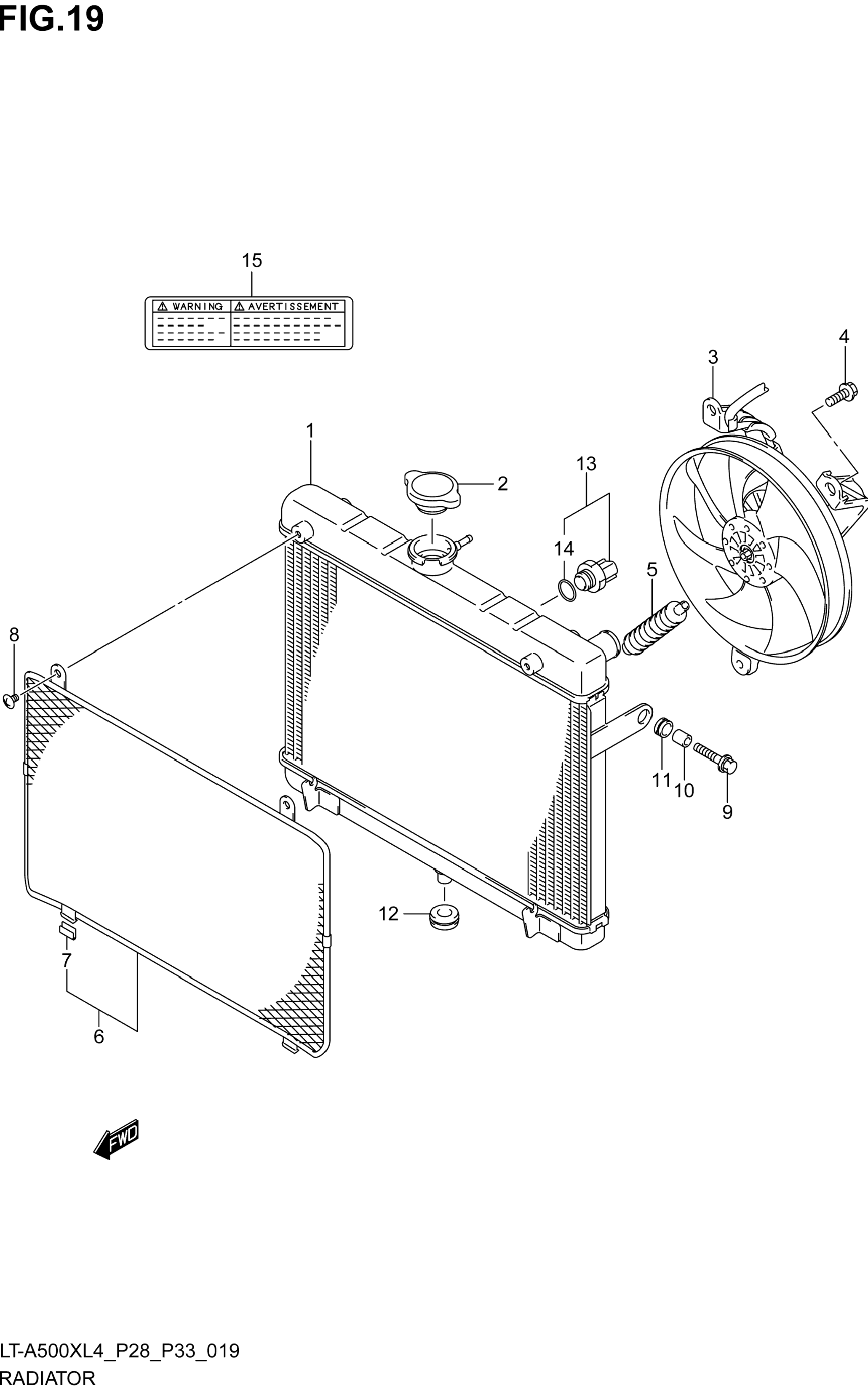
Номер запчасти,
наличие, срок поставки
Наименование Кол-во Цена
1 17710-31G40 / 45-55 дней Radiator assy 1 28 562 р.
2 17730-14G00 / 45-55 дней Cap assy, radiator 1 5 950 р.
3 17800-31G10 / 45-55 дней Fan assy, radiator 1 32 262 р.
4 01550-0610B / 45-55 дней Bolt 3 330 р.
5 17820-07G10 / 45-55 дней Boot, rdtr fan motor 1 1 037 р.
6 17760-09F00 / 45-55 дней Cover, radiator 1 7 311 р.
7 17765-09F00 / 45-55 дней .protector 2 397 р.
8 02142-0608A / 45-55 дней Screw 2 177 р.
9 09118-06097 / 45-55 дней Bolt (6x25) 2 342 р.
10 09180-06290 / 45-55 дней Spacer (6.5x10x12) 2 277 р.
11 09320-10042 / 45-55 дней Cushion 2 433 р.
12 09320-12036 / 45-55 дней Cushion 1 282 р.
13 17680-50F00 / 45-55 дней Switch, radiator fan 1 9 234 р.
14 17689-50F00 / 45-55 дней .o ring 1 330 р.
15 17991-02F40 / 45-55 дней Label, cooling fan 1 643 р.
Список узлов