Стартер для Suzuki LT-F250 2014 г.

(STARTING MOTOR)
Доставка из США до Москвы 90 руб. за 100 грамм
Доставка
  • Доставка из США, ОАЭ или из Германии в Москву
  • Доставка со складов в Москве
Скидка 5% от суммы заказа более 30 000 руб.
Оплата
  • Наличный способ оплаты
  • Банковской картой Visa, Mastercard
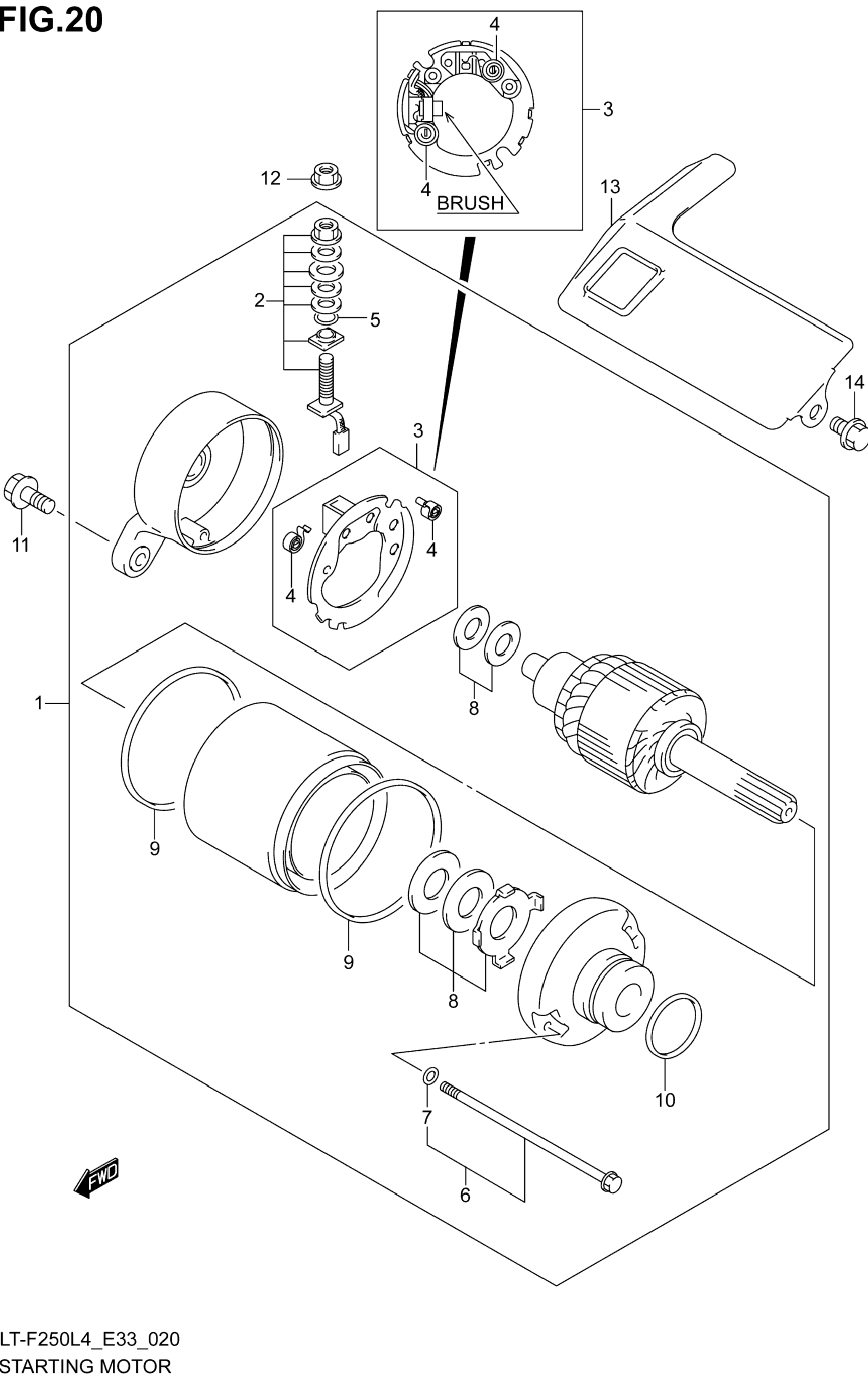
Номер запчасти,
наличие, срок поставки
Наименование Кол-во Цена
1 31100-02C10 / 45-55 дней Motor assy, starting 1 76 717 р.
2 31130-13E00 / 45-55 дней .brush terminal set 1 6 137 р.
3 31132-33E00 / 45-55 дней .brush holder set 1 7 920 р.
4 31135-31300 / 45-55 дней ..spring, brush 2 687 р.
5 31143-49040 / 45-55 дней .o ring 1 514 р.
6 31280-19F00 / 45-55 дней .bolt set 2 2 415 р.
7 31156-13E00 / 45-55 дней ..o ring 2 514 р.
8 31170-19B10 / 45-55 дней .washer set 1 1 484 р.
9 31264-13E00 / 45-55 дней .o ring 2 927 р.
10 09280-24003 / 45-55 дней .o ring (d:3,id:24.5) 1 212 р.
11 09103-06212 / 45-55 дней Bolt (6x25) 2 327 р.
12 08361-3506A / 45-55 дней Nut 1 246 р.
13 31210-05G00 / 45-55 дней Cover, starting motor 1 1 111 р.
14 01547-0610B / 45-55 дней Bolt 1 335 р.
Список узлов