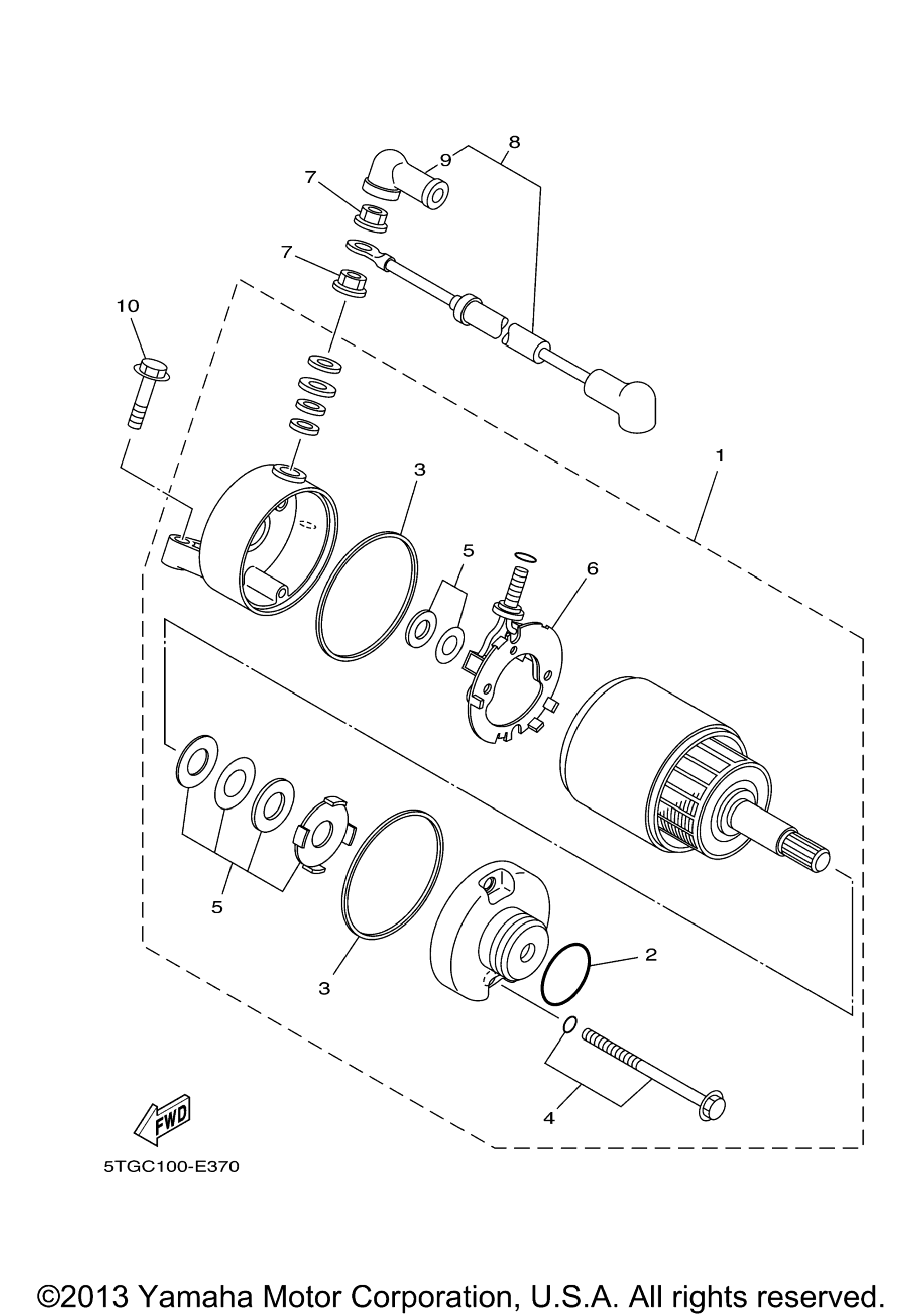
Starting Motor для Yamaha YFZ450 - Black Metallic (YFZ45DB) 2013 г.

Доставка из США до Москвы 90 руб. за 100 грамм
Доставка
  • Доставка из США, ОАЭ или из Германии в Москву
  • Доставка со складов в Москве
Скидка 5% от суммы заказа более 30 000 руб.
Оплата
  • Наличный способ оплаты
  • Банковской картой Visa, Mastercard
Номер запчасти,
наличие, срок поставки
Наименование Кол-во Цена
1 5TG-81890-00-00 / 45-55 дней Motor assy 1 49 049 р.
2 93210-24235-00 / 45-55 дней . .o-ring 1 626 р.
3 4WP-81844-00-00 / 45-55 дней . .gasket 2 1 359 р.
4 4WP-81826-00-00 / 45-55 дней . .bolt 2 1 657 р.
5 3AJ-81809-00-00 / 45-55 дней . .washer kit 1 1 530 р.
6 5TG-81801-00-00 / 45-55 дней . .brush set 1 10 652 р.
7 4XV-8182A-00-00 / 45-55 дней Nut 2 701 р.
8 5TG-81815-00-00 / 45-55 дней Cord, starter motor 1 11 665 р.
9 5H0-81871-00-00 . .cap 1 Узнать цены
10 95022-06025-00 / 45-55 дней Bolt, flange 2 361 р.
Список узлов