Цилиндр для Suzuki V-Strom (DL650) 2011 г.

(CYLINDER)
Доставка из США до Москвы 90 руб. за 100 грамм
Доставка
  • Доставка из США, ОАЭ или из Германии в Москву
  • Доставка со складов в Москве
Скидка 5% от суммы заказа более 30 000 руб.
Оплата
  • Наличный способ оплаты
  • Банковской картой Visa, Mastercard
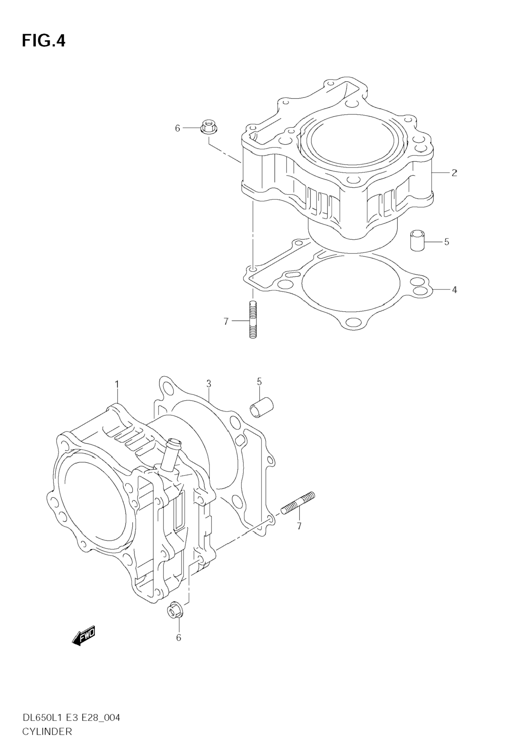
Номер запчасти,
наличие, срок поставки
Наименование Кол-во Цена
1 11210-20F30-0F0 Cylinder, front 1 Узнать цены
2 11220-20F20-0F0 / 45-55 дней Cylinder, rear 1 79 403 р.
3 11241-19F00 / 45-55 дней Gasket, cylinder front 1 1 526 р.
4 11242-19F00 / 45-55 дней Gasket, cylinder rear 1 1 588 р.
5 04211-13189 / 45-55 дней Pin 4 249 р.
6 08316-1006B / 45-55 дней Nut 4 285 р.
7 01421-0625B / 45-55 дней Stud bolt 4 225 р.
Список узлов