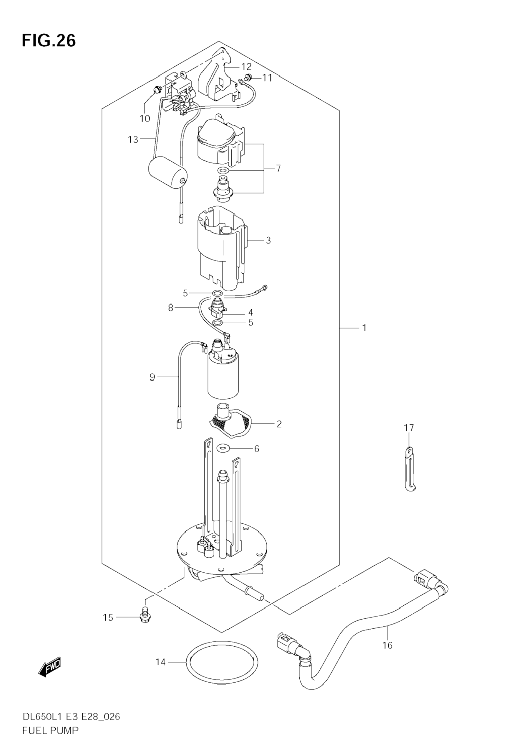
Топливный насос для Suzuki V-Strom (DL650) 2011 г.

(FUEL PUMP)
Доставка из США до Москвы 90 руб. за 100 грамм
Доставка
  • Доставка из США, ОАЭ или из Германии в Москву
  • Доставка со складов в Москве
Скидка 5% от суммы заказа более 30 000 руб.
Оплата
  • Наличный способ оплаты
  • Банковской картой Visa, Mastercard
Номер запчасти,
наличие, срок поставки
Наименование Кол-во Цена
1 15100-27G00 / 45-55 дней Pump assy, fuel 1 88 290 р.
2 15420-05H00 / 45-55 дней .strainer 1 4 922 р.
3 15111-27G00 / 45-55 дней .cup, reservoir 1 4 314 р.
4 15112-05H00 / 45-55 дней .joint 1 2 859 р.
5 15113-05H00 / 45-55 дней .o ring 2 2 388 р.
6 15113-35F00 / 45-55 дней .o ring 1 1 064 р.
7 15610-27G00 / 45-55 дней .regulator 1 19 819 р.
8 15114-27G00 / 45-55 дней .wire, earth 1 2 733 р.
9 15115-27G00 / 45-55 дней .wire, lead 1 2 872 р.
10 15116-06G10 / 45-55 дней .screw 1 731 р.
11 15116-10F00 / 45-55 дней .screw 3 567 р.
12 15181-27G00 .bracket, fuel gauge 1 Узнать цены
13 34810-27G00 / 45-55 дней .gauge assy 1 22 372 р.
14 15201-35F00 / 45-55 дней O ring, fuel pump 1 3 302 р.
15 07120-0612A / 45-55 дней Bolt 5 285 р.
16 15810-27G01 / 45-55 дней Hose, fuel 1 7 964 р.
17 09404-06429 / 45-55 дней Clamp 1 206 р.
Список узлов