Коленвал для Suzuki GSX1300RAZ 2014 г.

(CRANKSHAFT)
Доставка из США до Москвы 90 руб. за 100 грамм
Доставка
  • Доставка из США, ОАЭ или из Германии в Москву
  • Доставка со складов в Москве
Скидка 5% от суммы заказа более 30 000 руб.
Оплата
  • Наличный способ оплаты
  • Банковской картой Visa, Mastercard
Номер запчасти,
наличие, срок поставки
Наименование Кол-во Цена
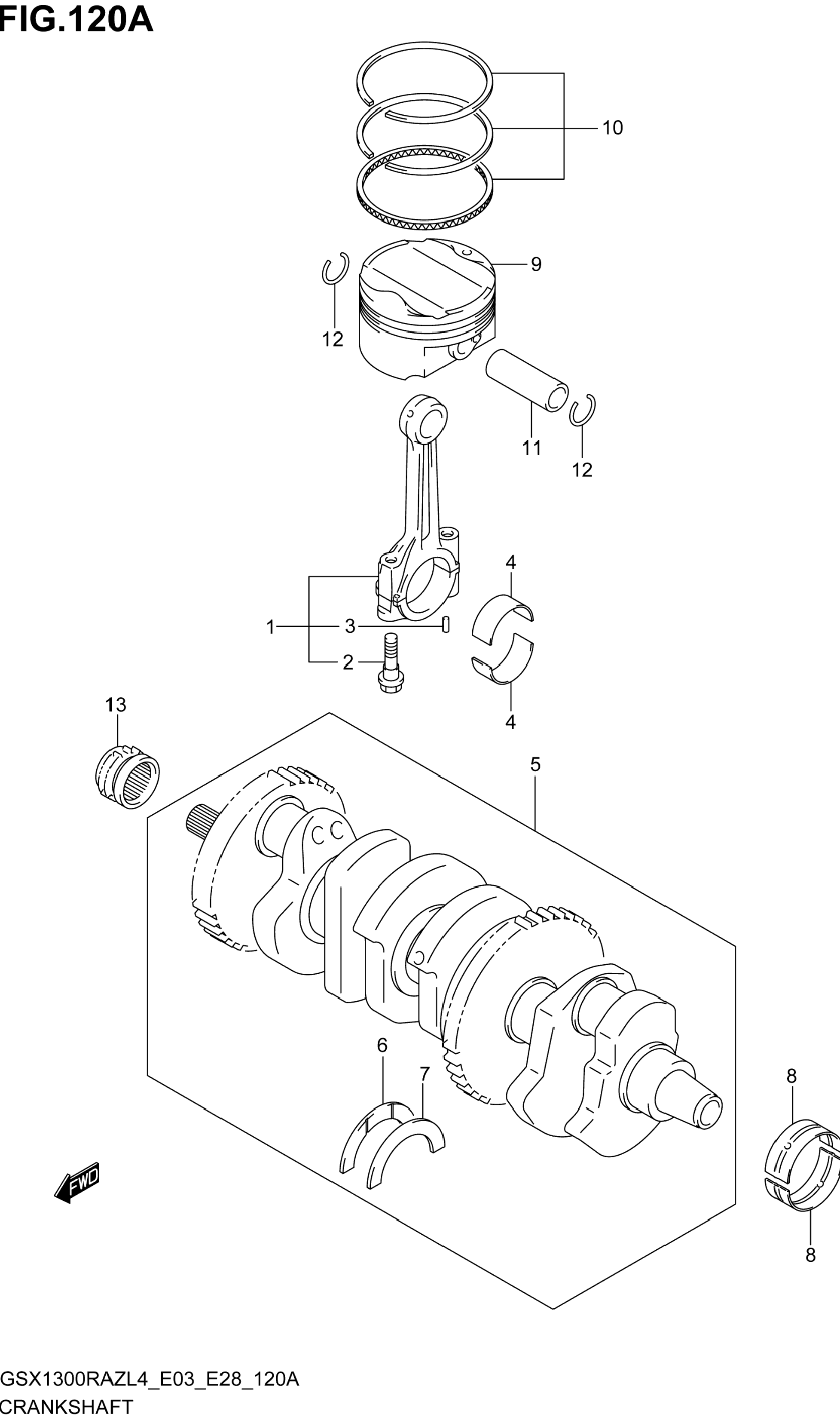
1 12160-15H00 / 45-55 дней Rod assy, connecting 4 28 290 р.
2 12163-24F10 / 45-55 дней .bolt 8 2 283 р.
3 04221-04089 / 45-55 дней .pin 8 162 р.
4-1 12164-46E01-0A0 / 45-55 дней Bearing, crank pin (green) 8 2 334 р.
4-2 12164-46E01-0B0 / 45-55 дней Bearing, crank pin (black) 8 2 334 р.
4-3 12164-46E01-0C0 / 45-55 дней Bearing, crank pin (brown) 8 2 404 р.
4-4 12164-46E01-0D0 / 45-55 дней Bearing, crank pin (yellow) 8 2 404 р.
5 12000-15810 / 45-55 дней Crankshaft set 1 246 076 р.
6 12228-24F00-0D0 / 45-55 дней .bearing, thrust rh (green) 1 1 502 р.
7-5 12228-24F00-0E0 / 45-55 дней .bearing, thrust lh (yellow) 1 1 568 р.
7-4 12228-24F00-0D0 / 45-55 дней .bearing, thrust lh (green) 1 1 502 р.
7-3 12228-24F00-0C0 / 45-55 дней .bearing, thrust lh (blue) 1 1 502 р.
7-2 12228-24F00-0B0 / 45-55 дней .bearing, thrust lh (black) 1 1 502 р.
7-1 12228-24F00-0A0 / 45-55 дней .bearing, thrust lh (red) 1 1 511 р.
7-6 12228-24F00-0F0 / 45-55 дней .bearing, thrust lh (white) 1 1 568 р.
8-1 12229-15H10-0A0 / 45-55 дней Bearing, crankshaft (green) 10 1 903 р.
8-2 12229-15H10-0B0 / 45-55 дней Bearing, crankshaft (black) 10 1 986 р.
8-3 12229-15H10-0C0 / 45-55 дней Bearing, crankshaft (brown) 10 1 929 р.
8-4 12229-15H10-0D0 / 45-55 дней Bearing, crankshaft (yellow) 10 1 929 р.
8-5 12229-15H10-0E0 / 45-55 дней Bearing, crankshaft (blue) 10 1 996 р.
9 12111-15H00-0F0 / 45-55 дней Piston 4 29 249 р.
10 12140-15H10 / 45-55 дней Ring set, piston 4 13 111 р.
11 12151-07D00 / 45-55 дней Pin, piston 4 2 177 р.
12 09381-18005 / 45-55 дней Circlip 8 259 р.
13 12731-24F10 / 45-55 дней Sprocket, cam chain 1 7 509 р.
Список узлов