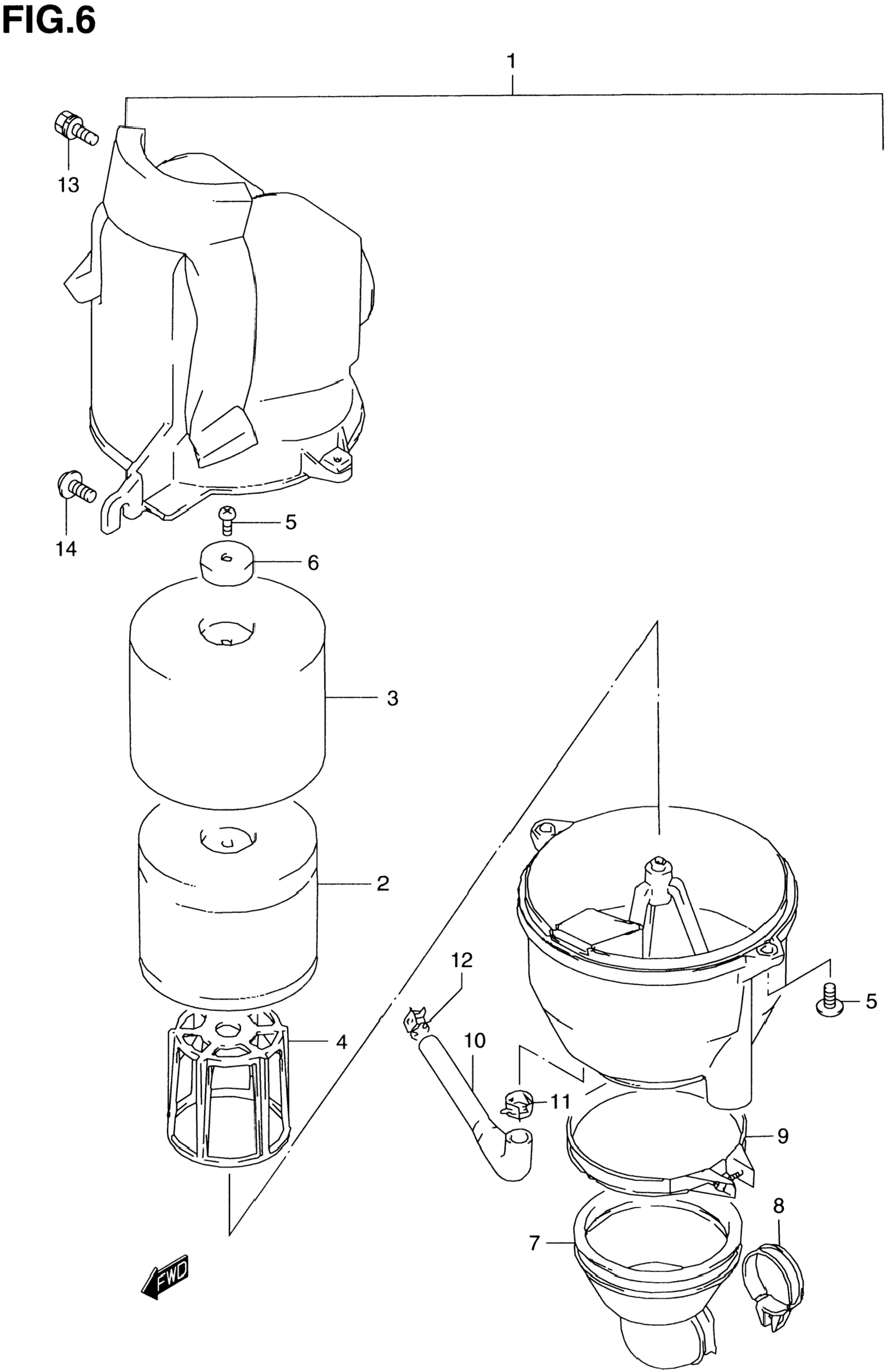
Воздушный фильтр для Suzuki QuadSport (LT80) 2001 г.

(AIR CLEANER)
Доставка из США до Москвы 90 руб. за 100 грамм
Доставка
  • Доставка из США, ОАЭ или из Германии в Москву
  • Доставка со складов в Москве
Скидка 5% от суммы заказа более 30 000 руб.
Оплата
  • Наличный способ оплаты
  • Банковской картой Visa, Mastercard
Номер запчасти,
наличие, срок поставки
Наименование Кол-во Цена
1 13700-40B00 / 45-55 дней Cleaner assy, air 1 25 353 р.
2 13780-40B00 / 45-55 дней .filter 1 3 637 р.
3 13784-40B00 / 45-55 дней .filter, sub 1 2 054 р.
4 13791-40B00 / 45-55 дней .holder, filter 1 1 429 р.
5 02142-0512A / 45-55 дней .screw 3 186 р.
6 13792-13A01 / 45-55 дней .washer 1 603 р.
7 13881-40B00 / 45-55 дней .tube, outlet 1 3 204 р.
8 09402-36303 / 45-55 дней .clamp 1 744 р.
9 09402-92207 / 45-55 дней .clamp 1 978 р.
10 13870-21308 / 45-55 дней .tube, drain 1 1 720 р.
11 09401-13417 / 45-55 дней .clip 1 309 р.
12 09401-11413 / 45-55 дней .clip 1 309 р.
13 01570-0612A / 45-55 дней Bolt 1 311 р.
14 09136-06009 / 45-55 дней Screw (6x20) 1 300 р.
Список узлов