Передний тормоз для Suzuki QuadSport (LT80) 2001 г.

(FRONT BRAKE)
Доставка из США до Москвы 90 руб. за 100 грамм
Доставка
  • Доставка из США, ОАЭ или из Германии в Москву
  • Доставка со складов в Москве
Скидка 5% от суммы заказа более 30 000 руб.
Оплата
  • Наличный способ оплаты
  • Банковской картой Visa, Mastercard
Номер запчасти,
наличие, срок поставки
Наименование Кол-во Цена
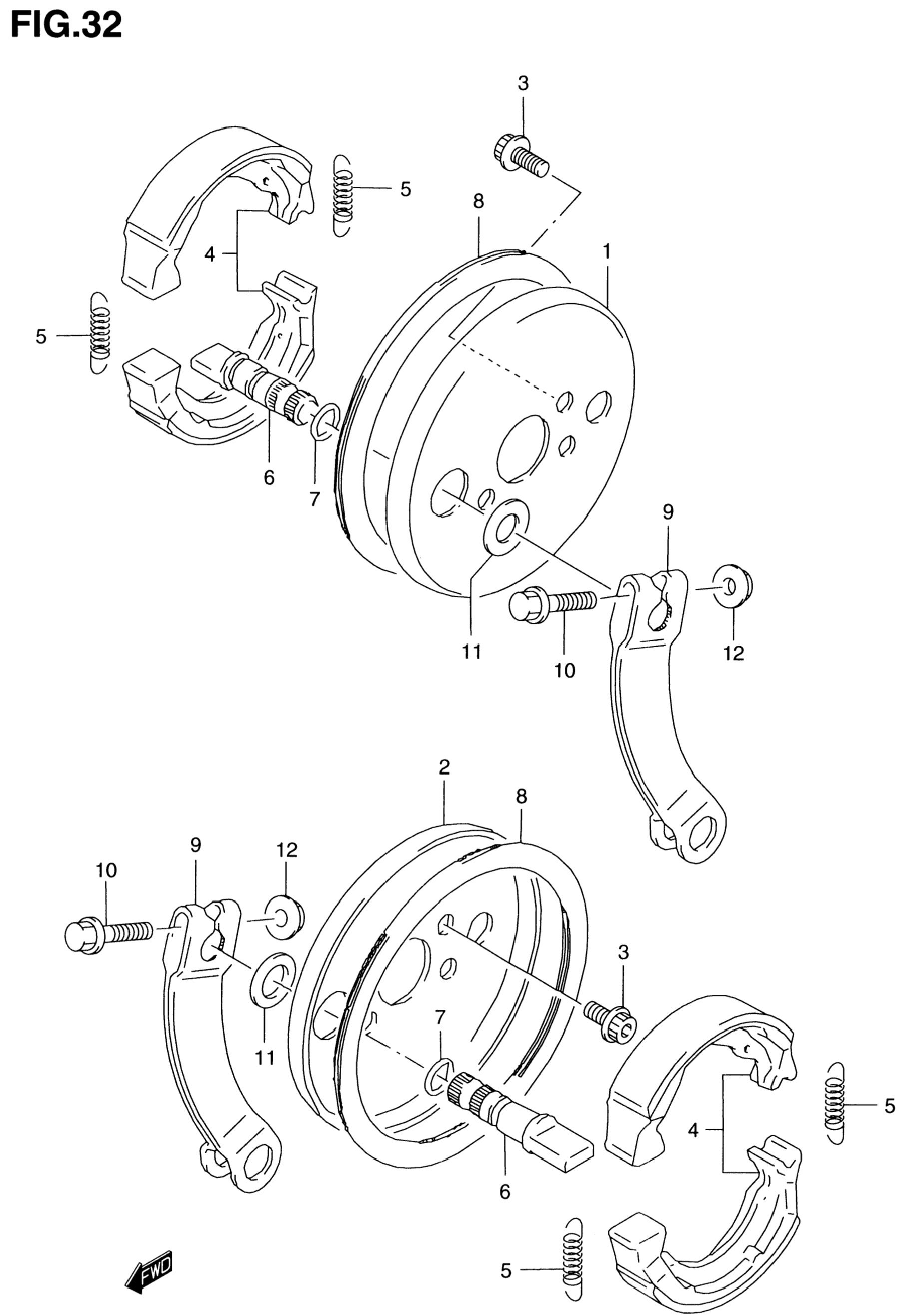
1 54511-40B00 / 45-55 дней Plate, brake anchor rh 1 2 344 р.
2 54521-40B00 / 45-55 дней Plate, brake anchor lh 1 2 344 р.
3 07120-0610B / 45-55 дней Bolt, brake anchor panel 6 277 р.
4 54400-40810 / 45-55 дней Shoe set, front brake 2 2 197 р.
5 09443-06029 / 45-55 дней Spring, brake shoe 4 240 р.
6 54441-02301 / 45-55 дней Cam, front brake 2 1 714 р.
7 09280-10016 / 45-55 дней O ring, brake cam 2 386 р.
8 54124-40B00 Dust seal 2 Узнать цены
9 54451-40B00 Lever, brake cam 2 Узнать цены
10 09103-05012 / 45-55 дней Bolt, cam lever (5x27) 2 232 р.
11 08322-0110A / 45-55 дней Washer, cam lever 2 207 р.
12 08316-2005A / 45-55 дней Nut, cam lever 2 249 р.
Список узлов